插头插座文章
智能插座
欧洲电源插座插头的电气系统使用标准
来源:www.wonplug.net | 作者:wonplug | 发布时间: 2019-07-10 | 12139 次浏览 | 分享到:
   欧洲插头插座标准
  组织:ENEC
  
  ENEC (European Norms Electrical Certification,欧洲标准电器认证) 是 CENELEC (欧洲执委会电工标准化组织) 的一项认证计划,该计划是针对特定并符合欧洲标准的产品(如照明设备,组件,及办公室&数据设备)所使用的通用欧洲标准。
  
  ENEC标志是欧洲安全认证通用标志,该标志是欧洲厂商基于调和欧洲安全标准进行测试的基础之上所采用的。
  
  欧洲插头插座有两种常见的电气标准:
  
欧洲电源插座
  
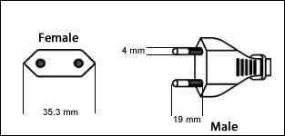
  欧洲CEE7/16  2管脚-2.5安培
  
  欧洲CEE7/16标准2管脚2.5安培是欧洲大陆大部分地区非接地应用的标准2线插头。电源线的制造符合欧洲CEE7/16标准;ENEC机构的批准和认证可在产品规范页面上找到。
  
  IEC 标准插头插座:C型
  
德国电源插座
  
  欧洲CEE7/7 Schuko  3叉-16安培
  
  欧洲CEE7/7标准3插脚16安培插头具有德国CEE7/4插座的侧面接地夹和一个凹形触点,以接受法国CEE7/5插座的接地销。电源线的制造符合欧洲CEE7/7标准;ENEC机构的批准和认证可在产品规范页面上找到。
  
  IEC标准插头插座: E/F型
  
CE认证
  
  欧洲电器产品上需要贴CE标志,那CE标志是什么呢?
  
  CE标志是欧洲一致性标志,表明产品符合适用欧洲法律或指令关于安全、健康、环境和消费者保护的基本要求。一般来说,遵守适用的指令是通过自我声明来实现的。欧洲经济区(EEA)国家的产品需要CE标志,以促进成员国之间的贸易。
  
  制造商或其在EEA中设立的授权代表负责在其产品上贴上CE标志。CE标志为制造商提供了一种认证,证明其产品符合欧洲经济区所有国家要求的一套通用法律,以允许在欧洲经济区国家内自由贸易。
  
多功能旅行转换器
  
  国内欧规转换插头也需要CE标志,才能出口到欧洲销售并使用,如图万浦多功能旅行转换器LE-07。

地址:广州市增城新塘镇夏埔村温涌路21号花基工业园万浦电器

电话:4000114138

邮箱:gzwp7@wonplug.cn
版权所有:广州万浦电器有限公司

备案号:粤ICP备16081324号-1

  • 留言交流区
提交

地址:广州市增城区宁西街创强路166号A3栋4楼416

版权所有:广州万浦电器有限公司

电话:020-62700996

手机:13798089797

邮箱:gzwp22@wonplug.cn

                     微信沟通                       阿里沟通                       下单链接